微软曝光Surface Phone可折叠设备专利

中关村在线

阅读

    近期,微软曝光出Surface Phone可折叠设备的专利,即使目前还没有见到成品,但从该专利中,我们对于Surface Phone的细节设计也可窥一斑。

微软曝光Surface Phone可折叠设备专利

Surface Phone概念图

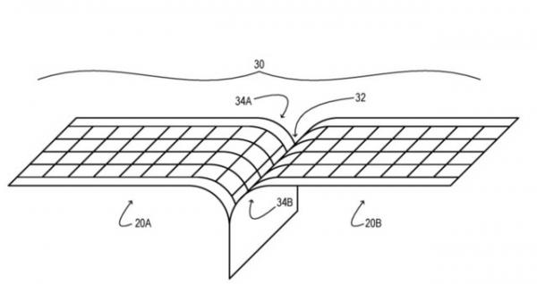
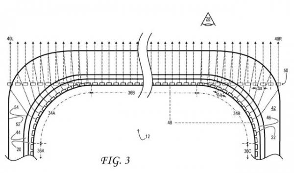
    这项专利技术名为:CURVED EDGE DISPLAY WITH CONTROLLED LUMINANCE(控制亮度的弯曲边缘显示器),这一技术使用一个特殊层来校正失真图像,尽管是曲面屏幕,但会呈现平坦表面,能够使得Surface Phone可折叠屏幕设备的两个屏幕衔接将更加自然、平坦。

微软曝光Surface Phone可折叠设备专利

    专利显示,显示矩阵包括平坦面部分、弯曲角部分、光释放到表面以及延伸越过平坦面部分和围绕弯曲角部分的一系列像素。耦合到显示矩阵的光释放表面,图像校正层配置为透射从显示矩阵的平坦面部分释放光,并且重新定向从显示矩阵的弯曲角部分释放光,使得透射的光和重定向的光基本上平行地离开图像校正层,从而形成该系列像素的表观平面图像。

微软曝光Surface Phone可折叠设备专利

    亮度校正层设置在光释放显示表面和图像校正层之间,用于将从弯曲角部分释放的光偏转到图像校正层的接收轮廓中。这意味着Surface Phone能够实现亮度控制。

原创文章,作者:lizeyang,如若转载,请注明出处:http://www.antutu.com/doc/114355.htm

相关推荐

登录后才能评论

评论列表 ( )

返回
顶部